熔煉爐一般的容量在600公斤以下,可以熔化合金錠,也可以用來保溫。通常以配套爐的位置存在。
中頻熔煉爐的分類有以下三種:
什么是熔鑄均質爐?
溫控系統是使用科學的比例工程設計的,可以做到溫差非常小,核心是控制鋁錠的合金成分來控制質量的方式來消除鋁棒的成分偏析和鑄造適應力,從而提高金屬的強度和塑性。

什么是靜置爐?
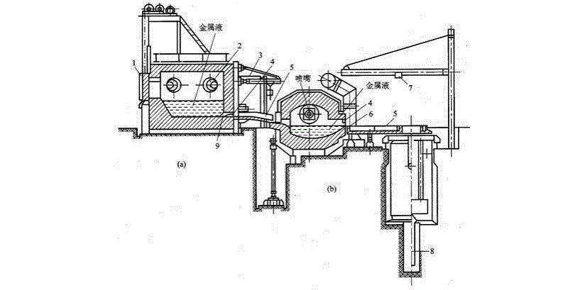
靜置爐是凈化爐和熔煉爐兩部分組成的,主要是用在連續熔煉的處理上面,其他用法也有把回收的鋁處理后,制成鋁制產品和零件,這些零件可以鍛造、壓鑄、軋制和做母合金使用.

什么是合金爐?
如果要去除金屬雜質和非金屬雜質,而且要把廢雜鋁按照合金成分分類,可以使用合金爐的除雜預處理技術。

上一篇: 高頻淬火設備的工作原理
下一篇: 汽車沖壓件開裂的原因分析